Product / USS
Halton USS – Grille de prise d’air extérieur
Halton USD – modèle avec raccordement à conduit circulaire : Arrêté à compter du 1er novembre 2025
-> non remplacé
Conçue pour empêcher la pénétration de la pluie et de la neige.
- Combat la pénétration de l’eau de pluie avec une efficacité d’environ 90%(USS/I)
- La grille et le grillage acier se démontent de l’extérieur
Présentation
Halton USD – modèle avec raccordement à conduit circulaire : Arrêté à compter du 1er novembre 2025
-> non remplacé
- Grille extérieure pour l’aspiration et le rejet, conçue pour empêcher la pénétration de la pluie, de la neige, des feuilles et des animaux
- Combat la pénétration de l’eau de pluie avec une efficacité d’environ 90%(USS/I)
- Principe reposant sur un profil avant des lames particulier et des rainures latérales
- La grille et le grillage acier se démontent de l’extérieur
- Lames de 65 mm de profondeur, espacées de 50 mm, 65 mm, section effective de 50%
- Finition standard acier galvanisé revêtu de peinture époxy-polyester
- La fabrication modulaire permet de concevoir des grilles de grande taille
Modèles
- Modèles disponibles en finition revêtu de peinture époxy-polyester ou en aluminium anodisé, acier inoxydable (AISI 316) et cuivre
Dimensions
| W | H |
| 150,+50,…,1200 | 150,+50,…1000 |
À la jointure des modules, la dimension L est de 105 mm .
En plus des dimensions standard, des dimensions spéciales sont réalisables. Les dimensions maximales d une grille sont 1200×1000 mm.
Il est possible de fabriquer des grilles modulaires quand la longueur est supérieure à 1200 mm. La longueur totale maximale est de 20m.
Matériau
| Pièce | Matériau | Finition | Remarque |
| Ailettes fixes | Acier galvanisé | Le matériau standard est de l’acier galvanisé revêtu de peinture polyester (RAL 7001). Couleurs spéciales et aluminium anodisé disponibles sur demande. |
En option, aluminium, cuivre ou acier inoxydable AISI 316 |
| Cadre | Acier galvanisé | Le matériau standard est de l’acier galvanisé revêtu de peinture polyester (RAL 7001). Couleurs spéciales et aluminium anodisé disponibles sur demande. |
En option, aluminium, cuivre ou acier inoxydable AISI 316 |
| Grillage (10 x 10 mm) |
Acier galvanisé | – | Acier inoxydable AISI 316 |
Fonction

L’air est expulsé ou aspiré au travers des ailettes horizontales. La conception de la grille empêche la pluie de pénétrer dans la gaine. La fente située entre le cadre et l’ailette supérieure est obturée et empêche par conséquent la pluie de pénétrer par le haut. Les gouttes d’eau sont collectées par les rainures latérales des ailettes. L’eau s’écoule dans les rainures latérales d’où elle s’échappe vers le bas.
Construction des ailettes USS

Protection contre les entrées d eau (USS/I)

Installation

Repère nom
1. Cadre
2. Ailettes
3. Grillage
La grille est conçue pour être fixée par des vis dans une réservation préparée dans la maçonnerie du mur.
Sur place, percer des trous sur les brides du cadre.
Les dimensions de la grille sont données comme dimensions nominales de la réservation.
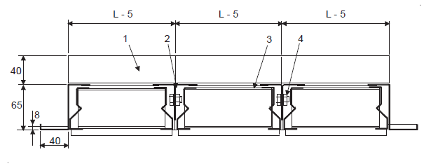
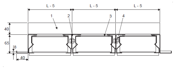
Montage modulaire
Repère dénomination
1. Support horizontal
2. Support vertical
3. Grillage acier
4. Boulon et écrou (M8 x 10)
Dans un montage modulaire, les cadres des modules adjacents peuvent être assemblées ensemble avant le montage du groupe de grilles.
Si la largeur ou la hauteur excède 2000 mm, la grille est installée avec un cadre support de l’ensemble.

Entretien
Nettoyer au besoin la grille à l’aide d’une brosse douce.
Spécifications
Grille extérieure USS de forme rectangulaire en acier galvanisé revêtu d’une peinture époxy-polyester.
A l’arrière de la grille un grillage de maille 10 x 10 sera fixé au moyen de clips.
La grille sera fournie avec un précadre de montage.
La grille extérieure empêchera efficacement la pluie, la neige, les feuilles et les animaux de pénétrer dans la gaine. Elle limitera la pénétration de l’eau de pluie à hauteur d’au moins 90 % (certification EUROVENT 2/5).
Code commandet
USS/S-W-H
S = Modèle
I Prise d air
W = Largeur (mm)
150,+50,..,12000
H = Hauteur (mm)
150,+50,..,10000
Options
MA = Matériau
CS Acier
AS Inox AISI 316
AL Aluminium
CU Cuivre
FI = Finition
PN Peinte
NA Pas de finition
AN Anodisé
AM Aluminium anodisé ( couleur spéciale)
CO = Couleur
G Gris (RAL 7001)
X Couleur spéciale (RAL xxxx)
N Pas de peinture
ZT = Produit spécial
N Non
Y Oui (ETO)
Exemple de code
USS/I-150-150, MA=CS,FI=PN,CO=G
Downloads
"*" indicates required fields

